乐于分享
好东西不私藏

公司是怎么监控员工电脑的?

本文最后更新于2025-08-13,某些文章具有时效性,若有错误或已失效,请在下方留言或联系老夜

公司是怎么监控员工电脑的?

公司是怎么监控员工电脑的?

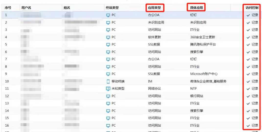
公司只要给员工电脑安装这个软件,就能对员工的上网行为进行管理\n比如网页浏览,有没有点危险网站,会不会威胁到公司网络安全\n还有文件操作,上传/修改/删除/下载/发送了什么文件,有没有泄露公司重要文件数据\n然后就是工作行为统计,看员工摸鱼做了什么,摸了多长时间\n我们行政管理员在软件后台都是可以看到的,而且员工发现不了😂#公司电脑监控#电脑监控#电脑监控软件#员工管理#企业管理#团队管理#数据安全#企业数据安全#数据泄露#上班摸鱼
本站文章均为手工撰写未经允许谢绝转载:夜雨聆风 » 公司是怎么监控员工电脑的?
×
订阅图标按钮