今天AppStore大规模下架了一批国内开发者的应用
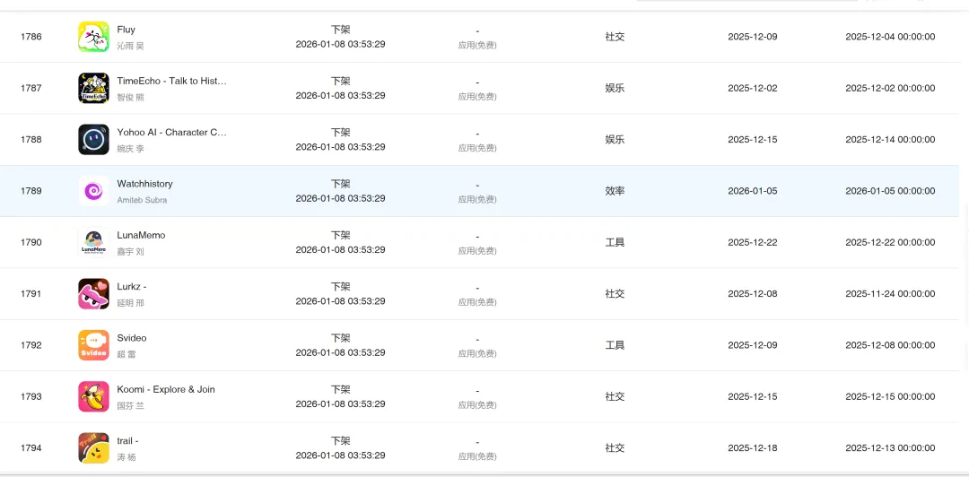
今天看七麦数据的下架监控,切换到北美地区,被一堆下架应用给震惊住了。这一批应用大概有170个,都集中在2026-01-08 03:51:15到2026-01-08 03:59:34分之内,不足10分钟的时间里集体下架,不少还有一些是同一秒钟被下架的:


乍看这批应用,除了开发者有一个共同点外,此之间似乎并没有什么关联,应用的品类有社交、工具、生活、医疗、娱乐甚至效率、健康健美、摄影与录像….但是仔细看应用图标,仿佛又有那么一些相同点:紫色、粉色、黑色为主调,这些色调主要目的是用来营造暧昧的氛围;而另一个相同点就是名字使用大多使用自己创造的词汇——从这里可以看得出,这些应用并不考虑用户是否看得懂,其目的只是为了上架而已。
因此我打开七麦数据爬取的商店数据,发现这些应用大部分元数据也是干干净净的,除了元数据的截图可能出现的女性形象外,似乎只是是普通的应用。但是苹果为什么会下架它们?这批应用又是什么玩意?这些开发者账号是怎么回事?
事实上,答案就隐藏在这些现象之下:
首先,这些应用的目标用户不是自然用户,而是买量用户,因为它们不需要考虑自然用户是否看得懂,只要考虑买过来的用户是否愿意留下——商店图的女性形象就是为了提高转化率而准备的,毕竟用户跳转到商店时,如果看到商店跟广告的内容毫无关联,肯定不可能去点击的。
所以这是一批马甲包,而且看着下架的时间,似乎是同一个公司的马甲包,因此几乎同时被苹果批量下架了。
马甲包,俗称AB包,就是一个包里面有不同两套内容。普通用户、审核人员因为是直接从商店下载下来的,因此他们看到的是A面的内容,这些内容是很正规的;而通过广告链接点击过来的用户则是目标用户,他们能够看到“劲爆”的内容。这类应用一般通过sdk(特别是adjust)去精准识别用户的来源。
事实上,苹果跟谷歌在这上面审核非常严格,因此有一些人专门帮人上架B面应用为生,他们的工作就是研究iOS、Android的审核机制,找到其中的漏洞,然后利用这些漏洞去帮人上非法的包,这里面黄、赌自然是最大的受众了,他们也是最大的付费群体。
那么这些包是在哪里获取用户的?答案也很简单,就是Facebook,Facebook是世界上最大的诈骗信息集散中心,上面各种乱七八糟的广告都能看到——事实上只要你有意关注一些性感的美女,不停的刷此类的视频,Facebook就定义你是老色批,然后自然而然地就会给你推送这一些非法的广告了。
当你看到这些广告,点开这个广告主,就可以看到这个广告主下的其它素材——因为Facebook搞了一个广告素材库,可以看到在Facebook上投放的所有广告。顺藤摸瓜,我在Facebook的广告资料库中查询到了一大堆广告,比如下面这个:
https://www.facebook.com/ads/library/?active_status=active&ad_type=political_and_issue_ads&country=CN&is_targeted_country=false&media_type=all&sort_data[mode]=total_impressions&sort_data[direction]=desc&source=fb-logo
这些广告基本上都是非法的淫秽广告,从这些广告链接下载下来的应用,直接显示B面(事实上可能归因判断更加复杂,可能会禁止一些国家地区的IP看到B面的内容)。不过Facebook也会封禁此类广告,因此只要是暴露比较严重的,基本活不过几个小时,那些擦边的可能可以活几天——然后通通被Facebook给封禁掉:

这一批被下架的应用,看起来应该是同一个公司的产品,而被下架的原因可能是B面被苹果给发现了,苹果顺藤摸瓜,把相关联的应用给批量清理了一遍,于是就出现了我看到的这一幕。
170多个应用,为避免关联,需要这些东西:170台测试机,170台mac,170个开发者账号以及170个a面的应用,这开发的成本不可谓不大,此外在Facebook投放,Facebook的监控,那些暴露的广告最多活几天,甚至几个小时,而受众因为都是那些老色批,因此获客成本会很高。
所以这一波下架,对这个灰产公司而言,可谓是伤筋动骨了,但是这估计也是他们预料中的情况..
夜雨聆风
