APP泄漏重磅信息 SHIMANO 13速套件或将提上升级日程?
禧玛诺 E-Tube Project 应用更新后,明确出现 13 速飞轮相关代码,几乎实锤下一代公路、山地、砾石车套件将升级为13 速,且现有套件可能兼容 13 速。

App 的 “齿轮使用率” 界面新增了第 13 片飞轮的显示。

新增一片飞轮,不仅让禧玛诺追上竞争对手,结合过去两年的专利与泄露信息,也基本敲定了公路与砾石套件的未来方向。
公路车将迎来 Dura-Ace 1x 单盘系统?

目前 Campagnolo 全线为 13 速,SRAM 在 XPLR AXS 1x 套件上提供 13 速选项,而禧玛诺最新公路套件仍停留在12 速,砾石与山地套件同样如此。
更关键的原因是:禧玛诺公路产品线一直缺少原生 1x 单盘系统。
-
禧玛诺长期坚持公路车 2x 双盘是最优解
-
但职业赛场 1x 单盘已在多类赛事普及,计时赛几乎成为标配
-
不少禧玛诺赞助车队被迫使用第三方方案
升级 13 速后,1x 系统可实现更大齿比范围或更绵密齿比落差,让禧玛诺正式对标竞品。2023 年曝光的专利已显示 13 速 2x 双盘电子套件,不排除禧玛诺像 Campagnolo 一样全线升级 13 速。
砾石车 13 速专利或将落地

此前专利已曝光禧玛诺全无线 13 速砾石套件,后拨带离合器结构,专为越野设计。SRAM 已在越野领域普及 13 速 1x,禧玛诺不愿落后。
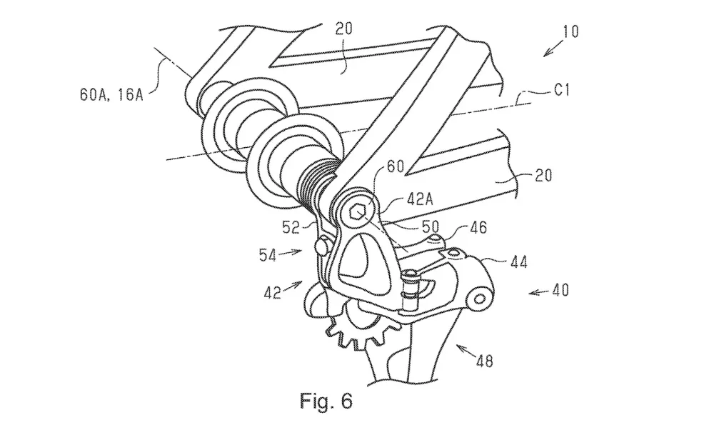
同时,2023 年专利显示禧玛诺可能采用UDH 直装式后拨标准:
-
后拨直接固定在后轮轴心上,而非普通尾钩
-
为 13 速飞轮腾出空间,无需改用更窄链条
向下兼容?老款套件能直接升 13 速吗?

本次泄露出现在老款 12 速 Ultegra R8100 Di2的配置页面。理论上,电子变速没有物理限位,只要后拨行程足够,可通过编程支持更多飞轮片。
但禧玛诺历来不做跨代向下兼容,本次出现 13 速选项更可能是测试代码,老套件直接升级的概率不高。若真能开放升级,将成为市场重磅福利。
但是按照以往的升级节奏来看,并不可能。
你期待吗?
夜雨聆风
