当前时间: 2026-01-08 06:11:20
分类:软件教程
评论(0)
本文最后更新于
2025-09-23,某些文章具有时效性,若有错误或已失效,请在下方
留言或联系
老夜。
JD自动化科技





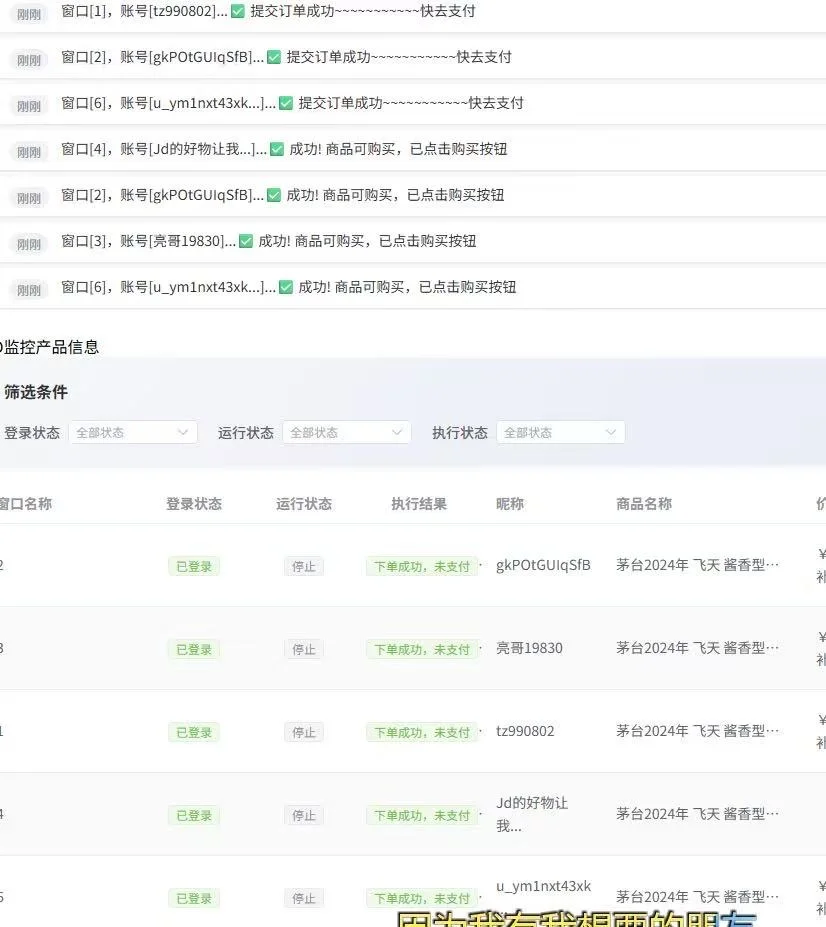
JD自动化脚本,智能监控精准抢购工具。\n功能齐全:1.实时商品监控 2.智能价格预警 3.自动下单抢购 4.多账号管理\n支持京东商品监控与自动化抢购,实时检测商品状态。\n系统运行稳定,界面简洁易用,支持多账号同时监控。\n需要输入商品地址和账号信息,系统运行正常即可开始监控。\n【功能】实时商品监控 智能价格预警 自动下单抢购 多账号管理\n支持实时商品监控 实时提醒 当有货立即下单\n系统运行稳定,界面简洁易用。\n自动抢购工具 JD自动化科技#京东 #科技数码 #自动化 #人工智能 #数据分析
本站文章均为手工撰写未经允许谢绝转载:
夜雨聆风 »
JD自动化科技