刀具技术-锑玛工具-汽车零部件-空调压缩机钻铰刀

《刀具界》以推广先进的金属切削技术为己任



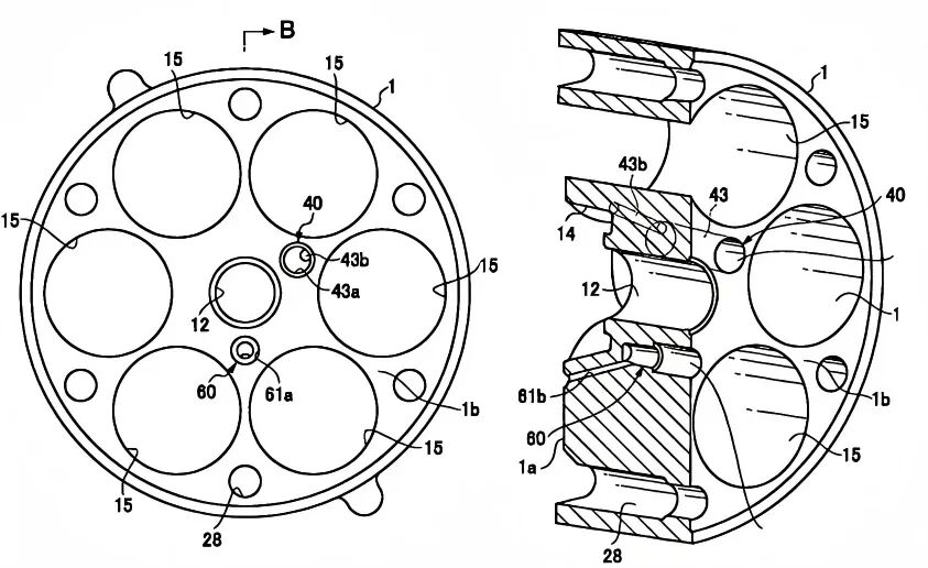
汽车空调压缩机缸体结构图
零件信息与客户要求

• 被加工零件:空调压缩机轴总成-缸体
• 被加工材料:铸铝
• 机床设备:FCUNK加工中心
• 冷却方式:外冷乳化液
• 加工部位:钻铰6-φ6.5孔,孔深50mm
• 寿命要求:10000件
• 产品零件图纸:

零件加工难点

4. 针对毛坯孔情况,客户要求一把刀完成孔的加工,并需要保证6个孔之间的位置度要求。
锑玛优化刀具


3. 刀具表面特殊处理
高抛光工艺:芯厚表面进行了高抛光处理,不仅提高了刀具的表面光洁度,有效减少了切屑堵塞,满足了高效加工的需求;切削刃口也采用了高抛光工艺,显著减少了铁屑在加工过程中粘连刃口的情况,提高了切削效率和表面质量。
4. 原材料选择
针对性匹配:刀具的原材料进行了针对性的选择,选择了高性能的硬质合金材料。
最高性价比:通过科学的材料选择,确保刀具在满足性能要求的同时,达到了客户的最高性价比要求,降低了综合使用成本。







在看↓
夜雨聆风