当前位置:首页>文档>2023年01月浙江通用技术真题(解析版)_全国卷+地方卷_10.技术_1.浙江历年技术试卷_通用技术

2023年01月浙江通用技术真题(解析版)_全国卷+地方卷_10.技术_1.浙江历年技术试卷_通用技术

  • 2026-03-14 07:20:21 2026-03-06 22:29:41

文档预览

2023年01月浙江通用技术真题(解析版)_全国卷+地方卷_10.技术_1.浙江历年技术试卷_通用技术
2023年01月浙江通用技术真题(解析版)_全国卷+地方卷_10.技术_1.浙江历年技术试卷_通用技术
2023年01月浙江通用技术真题(解析版)_全国卷+地方卷_10.技术_1.浙江历年技术试卷_通用技术
2023年01月浙江通用技术真题(解析版)_全国卷+地方卷_10.技术_1.浙江历年技术试卷_通用技术
2023年01月浙江通用技术真题(解析版)_全国卷+地方卷_10.技术_1.浙江历年技术试卷_通用技术
2023年01月浙江通用技术真题(解析版)_全国卷+地方卷_10.技术_1.浙江历年技术试卷_通用技术
2023年01月浙江通用技术真题(解析版)_全国卷+地方卷_10.技术_1.浙江历年技术试卷_通用技术
2023年01月浙江通用技术真题(解析版)_全国卷+地方卷_10.技术_1.浙江历年技术试卷_通用技术
2023年01月浙江通用技术真题(解析版)_全国卷+地方卷_10.技术_1.浙江历年技术试卷_通用技术
2023年01月浙江通用技术真题(解析版)_全国卷+地方卷_10.技术_1.浙江历年技术试卷_通用技术
2023年01月浙江通用技术真题(解析版)_全国卷+地方卷_10.技术_1.浙江历年技术试卷_通用技术
2023年01月浙江通用技术真题(解析版)_全国卷+地方卷_10.技术_1.浙江历年技术试卷_通用技术
2023年01月浙江通用技术真题(解析版)_全国卷+地方卷_10.技术_1.浙江历年技术试卷_通用技术
2023年01月浙江通用技术真题(解析版)_全国卷+地方卷_10.技术_1.浙江历年技术试卷_通用技术

文档信息

文档格式
doc
文档大小
0.493 MB
文档页数
14 页
上传时间
2026-03-06 22:29:41

文档内容

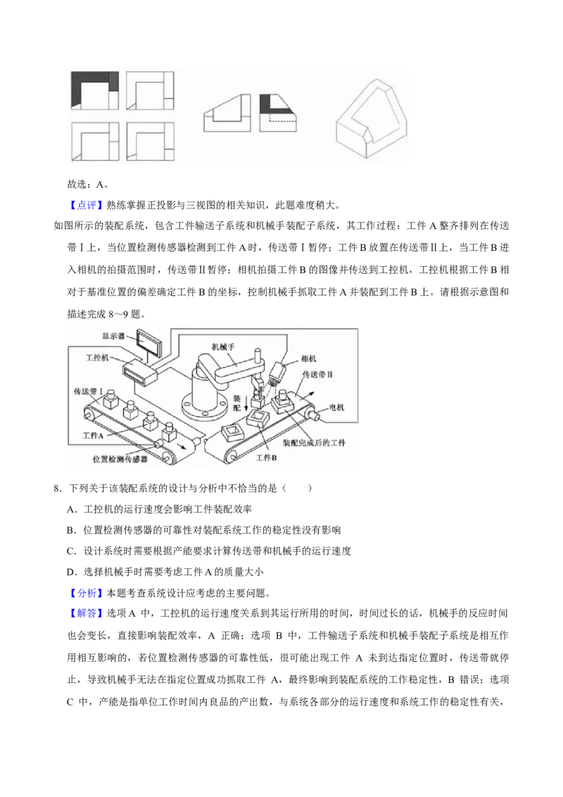
2023年1月浙江省普通高校招生选考通用技术试卷 参考答案与试题解析 一、选择题(本大题共12题,每题2分,共24分。每题列出的四个备选项中只有一个是符合题目要求的, 不选、多选、错选均不得分) 1.(2分)2022年11月,我国神舟十五号载人飞船成功发射,该飞船采用了多项改进的技术。下列关于 技术性质的理解中不恰当的是( ) A.飞船发射要考虑多种因素,体现了技术的综合性 B.改进的技术使飞船更可靠,体现了技术的目的性 C.在解决舱门密封性检测耗时长问题的过程中,研发了快速检测技术,体现了技术的实践性 D.飞船处理器抗辐照加固技术的内容和体系复杂,体现了技术的复杂性 【分析】本题主要考查学生对技术基本性质的理解。 【解答】根据题意A选项描述体现了技术的复杂性,BCD选项描述正确。 故选A。 【点评】注意对技术性质的理解。 2.(2分)如图所示是为老人设计的椅子,造型上借鉴了明式“圈椅”的元素,内部采用两同心轴结构, 使座面能随着身体的活动而运动。下列关于该椅子的分析与评价中不恰当的是( ) A.有助于活动身体,实现了人机关系的健康目标 B.座面可转动,符合设计的技术规范原则 C.同心轴结构使座面可转动,说明功能的实现需要相应的结构来保证 D.借鉴了明式“圈椅”造型,体现了技术与文化的有机结合 【分析】本题主要考查学生对设计原则的掌握情况。 【解答】B选项中座面可转动并非国家规定的标准,所以不涉及技术规范性原则,其他三个选项描述 正确。 故选B。【点评】注意对人际关系,设计的基本原则的理解。 3.(2分)为了给窗户安装一个可开关的安全栅栏,小明设计了以下四种方案,其中不能开关的是( ) A. B. C. D. 【分析】本题主要考查设计功能的实现。 【解答】在C选项中平行四边形的四个点分别固定在栅栏上,形成的两个三角形变长都是不可变的, 所以无法做相对运动。 故选C。 【点评】本题解答的关键在构件间能否产生相对运动。 4.(2分)下列是通用技术实践课上同学们进行的加工操作,其中不符合操作要领的是( ) A. B. C. D. 【分析】本题考查金属的加工操作和木材的加工操作。 【解答】A 为木材的刨削操作,图中双手握持木工创进行创削操作,符合操作要领:B 为板锯锯制木 板的操作,由于画线时要根据需要留有一定的余量,所以可以正对着画线位置进行锯割。在使用板锯进行锯割时,左手固定木板,右手握持板锯进行锯割,上图的操作符合操作要领;C 为金属的直锤法 铿削操作,台虎钳夹持工件,该操作符合操作要领:D 为套丝操作,图中手的位置有误(起套时,一 只手掌心按住扳手中部工件轴线下压,另一只手配合顺向旋进:正常套丝时两手应握住扳手两端进行 操作)。 故选:D。 【点评】熟练掌握金属的加工操作和木材的加工操作,此题难度适中。 5.(2分)小明准备在通用技术实践室用实木板制作一个如图所示的工具篮,下列关于中间隔板加工流 程的设计分析中不合理的是( ) A.用实木板加工时,先刨削再画线 B.加工外形时,先用板锯锯直边,再用钢丝锯锯曲边 C.加工提手孔时,先用手摇钻钻一排孔,再用钢丝锯锯割 D.提手孔倒角时,先用木工锉锉削,再用砂纸打磨 【分析】本题考查木工常用工具及操作方法。 【解答】A 选项,实木板天然表面粗糙,需要先创削平整,再画线,合理;B 选项,中间隔板的外轮 平直线条用板锯,阅弧用钢丝锯,合理;C 选项,提手孔为弧形孔,需要先钻孔再用钢丝锯锯制,但 是只需要一个孔,用手摇钻钻一排孔没必要且太低效,不合理;D 选项,提手孔倒角时,先用木工锤 粗加工效率高,再用砂纸打磨光滑,合理。 故选:C。 【点评】熟练掌握木工常用工具及操作方法,此题难度适中。 6.(2分)如图所示是两根传动轴连接结构的示意图,M 为驱动力矩,M 为阻力矩。下列对工作时各个 d r 零件主要受力形式的分析中正确的是( )A.轴1受剪切、套简受压、圆锥销1受弯曲 B.轴1受扭转、套简受扭转、圆锥销1受剪切 C.套筒受压、圆锥销2受剪切、轴2受扭转 D.套简受扭转、圆锥销2受弯曲、轴2受剪切 【分析】本题考查结构的受力分析。 【解答】受扭转是指构件两端受到两个垂直于轴线平面的力偶作用,两个偶大小相等,转向相反。受 剪切是指构件承受两个作用线相距很近、大小相等、方向相反的力。A 选项,轴1受扭转,套简受扭 转,圆锥销!受剪切,错误:B 选项,轴1受扭转,套简受扭转,阅锥销1受剪切,正确:C 选项,套 简受扭转、圆锥销 2受剪切、轴 2受扭转,错误:D 选项,套简受扭转、圆锥销 2 受剪切、轴2 受 扭转,错误。 故选:B。 【点评】掌握构件的受力形式,此题难度较大。 7.(2分)如图所示是某形体的主视图和左视图,相对应的俯视图是( ) A. B. C. D. 【分析】本题考查正投影与三视图。 【解答】本题应该先找到图中两两不同的位置,A 选项中的红色区域与左视图红色区域、主视图红线 对应的是同﹣个坡面,一定是长对正高平齐宽相等的,可得 BC 两个选项错误:蓝色区域代表同一个 高台,必须宽相等D 错。故选:A。 【点评】熟练掌握正投影与三视图的相关知识,此题难度稍大。 如图所示的装配系统,包含工件输送子系统和机械手装配子系统,其工作过程:工件 A整齐排列在传送 带Ⅰ上,当位置检测传感器检测到工件A时,传送带Ⅰ暂停;工件B放置在传送带Ⅱ上,当工件B进 入相机的拍摄范围时,传送带Ⅱ暂停;相机拍摄工件B的图像并传送到工控机,工控机根据工件B相 对于基准位置的偏差确定工件B的坐标,控制机械手抓取工件A并装配到工件B上。请根据示意图和 描述完成8~9题。 8.下列关于该装配系统的设计与分析中不恰当的是( ) A.工控机的运行速度会影响工件装配效率 B.位置检测传感器的可靠性对装配系统工作的稳定性没有影响 C.设计系统时需要根据产能要求计算传送带和机械手的运行速度 D.选择机械手时需要考虑工件A的质量大小 【分析】本题考查系统设计应考虑的主要问题。 【解答】选项A 中,工控机的运行速度关系到其运行所用的时间,时间过长的话,机械手的反应时间 也会变长,直接影响装配效率,A 正确;选项 B 中,工件输送子系统和机械手装配子系统是相互作 用相互影响的,若位置检测传感器的可靠性低,很可能出现工件 A 未到达指定位置时,传送带就停 止,导致机械手无法在指定位置成功抓取工件 A,最终影响到装配系统的工作稳定性,B 错误;选项 C 中,产能是指单位工作时间内良品的产出数,与系统各部分的运行速度和系统工作的稳定性有关,指定了产能要求后,才能计算出各部分相应的运行速度,C 正确;选项 D 中,机械手是用于抓取工 件 A 的,工件 A 的质量是选择机械手的重要指标,D正确。 故选:B。 【点评】熟练掌握系统设计应考虑的主要问题,此题难度稍大。 9.下列关于机械手装配子系统控制的分析中合理的是( ) A.装配速度是该装配子系统的被控量 B.基准位置的调整是工件装配的干扰因素 C.相机拍摄的工件B的图像信息是输入量 D.把工件A装配到工件B的过程采用了闭环控制方式 【分析】本题考查控制系统的组成和工作过程。 【解答】A 选项,控制系统要实现的目的是完成装配任务,输出量是是否已装配,不合理;B 选项, 基准位置是其中一个输入量,不合理;C 选项,相机拍摄的工件 B 的图像信息是另一个输入量,合 适;D 选项,把工件 A 装配到工件 B 的结果没有用检测装置检测,没有反馈,是开环控制。 故选:C。 【点评】熟练掌握控制系统的组成和工作过程,此题难度稍大。 10.(2分)小明准备在面包板上搭建如图所示的电路,并探究5脚、2脚、3脚之间的电位关系,下列 器材中不需要的是( ) A. B. C. D. 【分析】本题考查电路搭接与测试。 【解答】A 是杜邦线,是一根导线,在面包板上插入相应孔中,可以用作连接导线。B 是多用表,本 题中可以用于测量电位,C 是电池盒,刚好 4 节电池提供电路中所需电源电压 6V。D 是电络铁, 一般用于印刷板电路的焊接。面包板电路搭建不需要焊接。 故选:D。【点评】掌握电路工作原理,测试电路选用合适的器材,此题难度稍大。 11.(2分)如图所示的信号处理电路,u 为输入信号,u 为输出信号。下列输出波形与输入波形关系中 i 0 可能的是( ) A. B. C. D. 【分析】本题考查电路的波形图、电容的充放电。 【解答】电容充电起始时刻,两端电压差为 0,随着充电进行,电乐差增大,放电起始时刻,电容两 端电压差相对较大,随着放电过程,两端电压差减小。当输入 Ui=0 时,非门输入是低电平,此时 UO=l,故排除 C。当 Ui变为高电平时,电容 C 开始充电,充电起始时刻,非门输入依然是低电平, 因此UO 维持高电平输出,当充电至一定大小时,U0=0,排除 D,当输入 Ui 又切换为低电平时, 电容 C 开始放电,放电起始时刻,非门输入依然是高电平,因此 UO 维持低电平输出,当放电至低 于一定大小后,UO=I因此排除 B。 故选:A。 【点评】熟练掌握电路的波形图、电容的充放电,此题难度稍大。 12.(2分)如图所示是小明设计的台灯模型的电路,工作时VT1、VT2均导通。下列分析中不合理的是 ( )A.VTI、VT2均工作于放大状态 B.调大Rp的阻值,VD亮度变化不明显 C.电源电压改为12V,VD亮度基本不变 D.VT1放大倍数增加1倍,VD亮度明显变化 【分析】本题考查三极管的特性。 【解答】VT1 和 VT2 的集电结都反偏,故均工作在放大状态,A 正确:由于 VT2 对输出电流的反 馈作用,可以维持 VT1 的基极电流基木恒定,所以 BCD 所提的条件改变时,VD 的亮度基木不变. 故选:D。 【点评】熟练掌握三极管的特性,此题难度稍大。 二、非选择题(本大题共3题,第13题8分,第14题10分,第15题8分,共24分。各题中的横线处填 写合适选项的字母编号) 13.(8分)小明为了在家中锻炼身体,准备在过道两侧墙壁之间安装一个简易单杠。小明首先上网收集 相关资料,经过分析比较准备选择如图1所示的产品。该产品长度可调,免钉安装,靠底座与墙面的 摩擦力固定,但价格相对较高。小明根据该产品的安装要求对过道的墙面进行了简单测试,发现施加 压力后墙面容易破损,不适合使用该产品,于是决定自己设计一种用膨胀螺栓安装的简易单杠。请完成以下任务: (1)小明在发现安装问题的过程中做的工作是 C 。(单选) A.上网收集资料 B.比较价格 C.测试墙面强度 (2)小明对收集到的信息进行分析,提出了以下设计要求: A.杆的直径适合握持 B.杆的握持部位要防滑 C.适用于宽度为1100﹣1200mm的过道 D.有足够的强度和刚度 E.安装牢固可靠 F.成本尽可能低 其中与人机关系要实现的目标相关的有 ABDE 。(多选) (3)根据设计要求,下列材料中适合用于制作单杠中间杆件的是 B 。(单选) A.铜管 B.钢管 C.铝管 D.木棒 (4)根据设计要求,小明在构思单杠杆与两个安装座的连接结构方案时,决定采用一端可调另一端固 定的形式,并设计了以下可调端的结构(图2),其中能适用于过道任意宽度的有 AC 。(多选) 【分析】本题考查发现问题的途径与方法、人机关系要实现的目标、材料的选择和方案的设计。【解答】(1)小明根据该产品的安装要求对过道的墙面进行简单测试,发现施加压力后面容易破损, 小明所做的工作是测试墙面强度。 (2)A 选项是人据持的尺寸,与人的静态尺寸有关,属于舒适目标;B 选项的防滑要求,D 选项和 E选项是对单杠强度和连接强度提出的要求,均与人机关系的安全目标有关;C 选项与“环境”因素 有关,F选项与人机关系要实现的目标没有联系。 (3)单杠需要材料强度高,因此钢管是选项中强度最高的一种,铜管、铝管和木棒的强度比钢管要低。 (4)题中要求能适用于过道任意宽度,因此需要任意可调,B 选项是只有两档可调,所以不符合题 目要求。 【点评】熟练掌握发现问题的途径与方法、人机关系要实现的目标、材料的选择和方案的设计,此题 难度较大。 14.(10分)小明看到物流配送到小区后,都要靠人工将货物从卡车上卸下来(如图所示),当货物体 积或质量较大时,货物容易滑下来,砸伤搬运人员、损坏货物。小明准备设计一个具有起重功能的装 置辅助搬运人员将货物从车厢卸到地面。已知车厢底板离地高度为800mm,车厢底板至顶板距离为 2500mm。装置设计要求如下: (a)能将货物从车厢底板上卸到地面 (b)在卸货过程中装置运动平稳可靠 (c)能承载尺寸为800mm×600mmx×1800mm(长×宽×高)、质量为100kg的货物 (d)安装在车厢尾部的底板或侧板上 (e)驱动方式不限。 请完成以下任务: (1)在头脑中构思符合设计要求的多个方案,画出其中最优方案的设计草图(装置安装设计到的车厢 底板或侧板用线条表示,如果采用电机驱动,电机可用方框表示),简要说明方案的工作过程; (2)在草图上标注主要尺寸; (3)小明准备在装置安装后进行技术试验,并设计了试验方案。以下试验步骤中做法不合理的是 C (单选)。 A.准备一个托盘若干不同质量的码和一只尺寸为800mm×600mm×1800mm(长×宽×高)的开口纸箱。 B.将装置中承载构件(用于装载货物的构件)悬空,并锁定驱动构件。 C.将组合好的100kg码加载到承载构件上,测试装置的强度是否符合要求,并记录测试结果。 D.将托盘放置在车厢底板上,在托盘上添加一定质量的砝码,将开口纸箱罩在托盘上并固定,操纵装 置把带有砝码和纸箱的托盘从车厢移动到地面,测试装置运动是否平稳可靠,并记录测试结果;逐次 添加砝码,重复上述过程,直至托盘与砝码总质量增加到100kg。E.撰写试验报告。 【分析】本题考查草图绘制、尺寸标注和试验方案设计。 【解答】(1)利用滑轮组转变为平台的上下移动。如图所示,这个方案通过支架侧面的 U 型夹夹在 车厢侧板,在支架顶部的电机带动螺杆转动,使置货板上下移动,并有 90°的滑轨能实现向外转动。 (2)把限制因素里的关键尺寸进行标注:如能升降 800mm 以上,载货平台的长宽等,如方案中的图 示。 (3)选项 C 一次性加 100kg 的码直接加到装置上,这样操作在强度可能不够时不安全,太危险。 应该逐渐增大,并不时观察变形情况,一旦发现异常就停止继续加砝码。所以选项C 符合要求。 【点评】熟练掌握草图绘制、尺寸标注和试验方案设计,此题难度较大。 15.(8分)如图1所示是小明设计的具有快慢充功能的电池充电电路。E是充满电压为1.5V的充电电池, 快慢充转换的基准电压设定为1.42V。当电池快充到1.42V后,转换为慢充;两个发光二极管分别指示 快充和慢充状态。请完成以下任务: (1)根据电路原理分析,快充状态指示灯是 B (单选)。 A.VD1 B.VD2 (2)小明搭建了电路并通电测试,当IC1的输出为低电平时,VD1、VD2同时发光,无法正确指示快 充与慢充状态,可能的原因有 AC (多选)。 A.R1阻值偏大B.R1阻值偏小 C.R4阻值偏小 D.R4阻值偏大 (3)小明在对图1电路的测试中发现电池充满后还保持充电状态,可能会造成安全隐患,于是决定改 进电路,使电池充到1.5V后能自动停止充电。小明画出了部分电路,请在虚线框(图 2)中连接给定 的元器件,将电路补充完整; (4)小明还发现电源电压波动时,会导致快慢充转换的基准电压也发生波动。为了稳定基准电压,需 要在图的基础上进行改进,请在虚线框(图3)中连接给定的元器件(二极管为硅管),将电路补充 完整。 【分析】本题考查电路分析。 【解答】(1)在快充电路中,充电电流如图所示,电流较大,R2、R3 和 VD 被短路:R4 两端电压 是够,VD2 发光在慢充电路中,充电电流如图所示,电流较小,R4 两端电压不足,VD2 不发光, R3 两端电压足够, VDI 发光故,快充状态指示灯为 VD2,慢充状态指示灯为 VD1,选 B。 (2)由(1)知,当IC1 的输出位低电平时,R2、R3 和 VD1 应被短路,但出现了“VD1、VD2 同 时发光”的现象,原因是 VTI 的压降 Uce 太大,可能是由 RI 太大或者 R4 太小所致,选A和 C。 (3)充电状态下,NPN 三极管应是导通状态,停止充电状态下,NPN 三极管应是截止状态:因此, 充电状态下比较器应该提供高电平,停止充电状态下比较器应该提供低电平。2比较器的输入部分 电池电压较低时,比较器输出高电平,电池电压较高时,比较器输出低电平,因此电池电压反镜线应 接比较器的反向输入端子,Rp2 提供的参考电平应接比较器的同向输入编子。具体接法如答案所示。 (4)考虑到电池反馈电平在 1.5V 之内,所以应选择三只二极管串联且位于下偏,以获得超过 1.42V (大约2.1V) 的稳定电平;将电位器的两个定端跨接两端,调试滑动端,获得合适的参考电平。接 法如答案所示。【点评】熟练掌握电路工作原理,会正确分析电路图,此题难度较大。