《2026二建机电》识图-电气工程(可下载)
建筑/工业电气工程
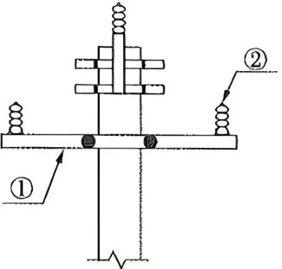
问题:说明图 2 中①、②部件的名称和作用。

答:
①是横担;②是绝缘子。作用:
①横担是装在电杆上端,用来固定绝缘子架设导线的,有时也用来固定开关设备或避雷器等。
②绝缘子用来支持固定导线,使导线对地绝缘,还承受导线的垂直荷重和水平拉力。
问题:圆钢跨接地线直径最小为多少?并计算最小搭接长度 L。

非镀锌钢导管接头示意图答:
(1)圆钢跨接地线直径最小为 6mm。
(2)圆钢跨接地线搭接长度应为圆钢直径的 6 倍,所以其最小搭接长度 L:6×6=36(mm)。
问题:图中母线槽安装存在什么质量问题?怎样整改?

室内配电低压母线槽与重力流雨水管交叉避让示意图答:
问题一:吊杆直径 6mm。
整改:室内配电母线槽的圆钢吊架直径不得小于 8mm。问题二:吊杆设置在母线槽连接器处。
整改:固定点位置不应设置在母线槽的连接处或分接单元处。问题三:中间一节母线槽未设置支架。
整改:每节母线槽不得少于 1 个支架。
【背景摘要】项目部在循环水泵单体试运转前,对电动机绝缘检查时,发现绝缘电阻不满足要求,采用电流加热干燥法对电动机进行干燥处理,用水银温度计测量温度时,被监理叫停。

问题:图中的电动机为何种接线方式?电动机干燥处理时为什么被监理叫停?应如何整改?
答:(1)三角形接线法。
(2)原因:电动机干燥处理时用水银温度计测量温度不正确。
整改:干燥时不允许用水银温度计测量温度,应用酒精温度计、电阻温度计或温差热电偶。

问题:图是变压器施工程序中的哪个工序?图中的兆欧表电压等级应选择多少伏?各工序之间的逻辑关系主要有哪几个?

变压器施工中的某工序示意图答:
(1)图是交接试验中的铁芯及夹件的绝缘电阻测量。
(2)兆欧表选择 2500V。
(3)各工序之间的逻辑关系主要有顺序、平行、交叉等。

【总结】
1.识别构件名称并表述作用
2.计算型(搭接、电阻等)
3.找出不合理(根据知识点和规范,结合答题技巧)
4.识别接线图(电系统)
微信关注下方二维码
回复“2026二建识图”

夜雨聆风