【2026年南方台江苏专用教辅电子版物理培优word讲义实验五探究平抛运动的特点

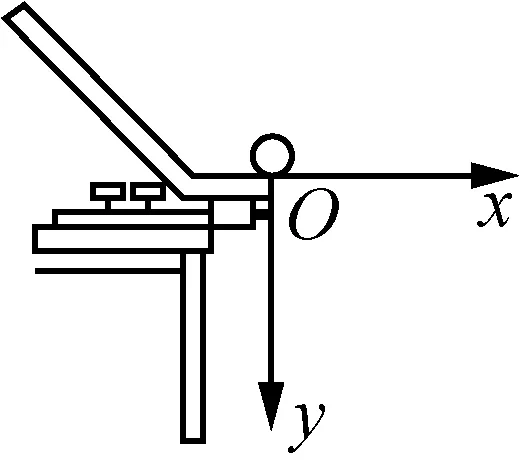
1. (2025·扬州期初)如图所示为教材中探究平抛运动特点的实验装置,则实验时( )

A. 挡板N必须水平
B. 斜槽M末端必须水平
C. 钢球可从斜槽中任意高度滚下
D. 用折线将白纸上记录的钢球印迹连接起来,即为平抛运动的轨迹
【答案】 B
【解析】 挡板N倾斜放置以使小球落到挡板后能挤压复写纸,故A错误;为了保证小球的初速度水平,斜槽末端必须水平,故B正确;为了保证小球的初速度相等,小球每次应从斜槽的同一位置由静止释放,故C错误;应用平滑曲线将钢球印迹连接起来,即为小球的运动轨迹,故D错误.
2. (2025·扬州七校第一次联考)在“研究平抛运动”的实验中,通过描点画出平抛小球的运动轨迹,在轨迹上取一些点,以平抛起点O为坐标原点,测量它们的横坐标x和纵坐标y,图中y-x2图像能说明小球运动轨迹为抛物线的是( )


ABCD
【答案】 C
【解析】 设轨迹是一条抛物线,由于以平抛起点O为坐标原点,故各点的纵坐标与横坐标应满足y=ax2,其中a是常量,根据数学知识可知y-x2图像是一条过原点的倾斜直线.
3. (2024·海安期初质量监测)利用如图甲所示的实验装置来探究平抛运动的特点.(取g=10 m/s2)

甲
(1) 以下是实验过程中的一些做法,其中合理的有________.
A. 安装斜槽轨道,应选择光滑的轨道
B. 每次小球释放的初始位置可以任意选择
C. 每次小球应从同一高度由静止释放
D. 为描出小球的运动轨迹,描绘的点可以用折线连接
(2) 该实验中,在取下白纸前,应确定坐标轴原点O,并建立直角坐标系,下列关于图像坐标原点和坐标系的选择正确的是________.

A B C
(3) 如图乙所示是根据实验画出的平抛小球的运动轨迹,在轨迹上取三个水平距离相等的点A、B和C,两点间的水平间距均为Δx=20.0 cm.以A点为坐标系的原点,水平方向为x轴,竖直方向为y轴,测得B、C两点竖直坐标y1=15.0 cm,y2=40.0 cm,则小球平抛的起点O的坐标为________________.

乙 丙
(4) 以平抛起点O为坐标原点,在轨迹上取一些点,测量它们的水平坐标x和竖直坐标y,作出如图丙所示的y-x2图像,图像的斜率为k,则平抛小球的初速度为________.
(5) 如图丁所示,在斜槽的末端放置一倾斜的长板,某小组测得小球在O处的水平速度v0及O至落点的水平射程x,记录的数据如下表,取g=10 m/s2,则斜面的倾角θ为________.

丁
|
序号 |
1 |
2 |
3 |
4 |
|
v0/(m·s-1) |
0.5 |
1 |
2 |
3 |
|
x/m |
0.05 |
0.2 |
0.8 |
1.8 |
【答案】 (1) C (2) C (3) (-20 cm,-5 cm) (4) g2k) (5) 45°
【解析】 (1) 安装斜槽轨道,使其末端保持水平,这样才能保证小球做平抛运动,不需要光滑,故A错误;为了保证小球到达底端时速度相同,则每次必须使小球从同一高度由静止释放,故B错误,C正确;为描出小球的运动轨迹,描绘的点必须用平滑曲线连接,故D错误.
(2) 建立坐标系时,y轴应该由铅垂线的方向决定;坐标原点应该是小球球心的投影点,故C正确.
(3) 因三点的水平距离相等,可知时间间隔相等;平抛运动在竖直方向的位移之比应该是1∶3∶5,因为yBC∶yAB=3∶5,可知抛出点的纵坐标为y=-5 cm,横坐标为x=-20 cm,即小球平抛的起点O的坐标为(-20 cm,-5 cm).
(4) 根据x=v0t,y=12gt2,可得y=g20x2
由题意可知k=g20,解得v0=g2k).
(5) 由平抛运动的规律可知tan θ=12v0t,x=v0t
解得x=20g
由表中数据可知v20=5x,可得 2tan θg=15,即θ=45°.
4. (2023·北京卷)用频闪照相记录平抛小球在不同时刻的位置,探究平抛运动的特点.
(1) 关于实验,下列做法中正确的是________.(填选项前的字母)
A. 选择体积小、质量大的小球
B. 借助重垂线确定竖直方向
C. 先抛出小球,再打开频闪仪
D. 水平抛出小球
(2) 图甲所示的实验中,A球沿水平方向抛出,同时B球自由落下,借助频闪仪拍摄上述运动过程.图乙为某次实验的频闪照片,在误差允许范围内,根据任意时刻A、B两球的竖直高度相同,可判断A球竖直方向做__________运动;根据______________________________,可判断A球水平方向做匀速直线运动.

甲 乙
(3) 某同学使小球从高度为0.8 m的桌面水平飞出,用频闪照相拍摄小球的平抛运动(每秒频闪25次),最多可以得到小球在空中运动的________个位置.
(4) 某同学实验时忘了标记重垂线方向,为解决此问题,他在频闪照片中,以某位置为坐标原点,沿任意两个相互垂直的方向作为x轴和y轴正方向,建立直角坐标系xOy,并测量出另外两个位置的坐标值(x1,y1)、(x2,y2),如图丙所示.根据平抛运动规律,利用运动的合成与分解的方法,可得重垂线方向与y轴间夹角的正切值为________.

丙
通过网盘分享的文件:南方凤凰台·2026全国一轮电子稿等7个文件
链接: https://pan.baidu.com/s/1Q8yIZ6J_EF4Bq61Fj8yz8w?pwd=4321 提取码: 4321
–来自百度网盘超级会员v8的分享
夜雨聆风