在演示飞书对接功能时,我尝试让系统自动生成一份完整的巡检报告,结果确实令人惊叹——整个流程完全无需人工干预,OpenClaw 能够自主执行指令并编写脚本,最终高效生成所需的报告。


1. 安装最新版的openclaw
你的Linux虚拟机需要一个AI大脑:开源智能体OpenClaw部署指南
2. 安装飞书插件
openclaw plugins enable feishu推荐使用上述方式,旧版的openclaw可能不包含飞书插件,需要单独安装飞书插件
openclaw plugins install @larksuiteoapi/feishu-openclaw-plugin@latest查看飞书插件的状态, 确保是loaded状态
openclaw plugins list
3. 创建飞书应用
(1) 访问飞书开发平台 https://open.feishu.cn/app(2) 点击「创建企业自建应用」(3) 填写应用名称(如OpenClaw)和描述(4) 进入凭证与基础信息页面,复制 App ID 和 App Secret(5) 给创建的飞书应用启用机器人能力


JSON{"scopes": { "tenant": [ "aily:file:read", "aily:file:write", "application:application.app_message_stats.overview:readonly", "application:application:self_manage", "application:bot.menu:write", "cardkit:card:read", "cardkit:card:write", "contact:contact.base:readonly", "contact:user.employee_id:readonly", "corehr:file:download", "event:ip_list", "im:chat.access_event.bot_p2p_chat:read", "im:chat.members:bot_access", "im:message", "im:message.group_at_msg:readonly", "im:message.p2p_msg:readonly", "im:message:readonly", "im:message:send_as_bot", "im:resource" ], "user": [ "aily:file:read", "aily:file:write", "im:chat.access_event.bot_p2p_chat:read" ]}}(7) 配置事件订阅

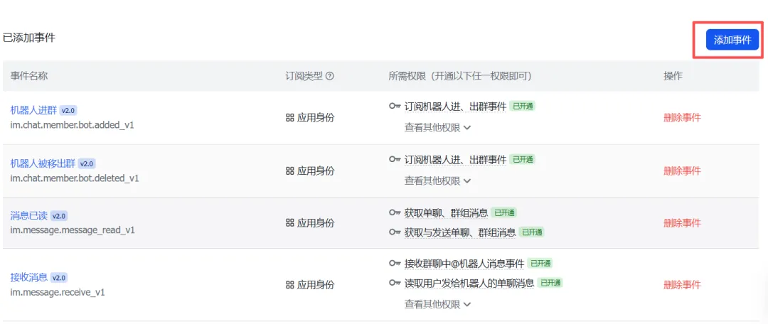
添加事件,要添加的事件如下图所示

(8) 在版本管理与发布栏目中创建版本并发布
4. 配置openclaw飞书通道
此处需要输入创建的飞书应用的App ID 和 App Secret
openclaw channels add


5. 使用飞书
(1) 打开飞书 App(2) 进入消息页:点击底部导航栏的 「消息」 标签。(3) 搜索机器人 点击消息页面右上角的搜索图标。
• 在搜索框中输入您为机器人设置的应用名称(即在开放平台创建应用时填写的名称)进行搜索。(4) 开始对话: • 在搜索结果中点击该机器人,即可进入一对一聊天界面。 • 首次使用时,机器人会回复一个[配对码] • 按照提示在命令行输入 openclaw pairing approve feishu您的配对码• 配对成功后,即可正常发送消息或文件给机器人,它会通过 OpenClaw调用AI进行回复。
6. 参考文章
[1] https://www.runoob.com/ai-agent/openclaw-feishu.html[2] https://openclaw.ai/
夜雨聆风