接触和使用 OpenClaw 小龙虾已经快两个月了,想做个简单的总结思考,也给大家一点参考。 在小龙虾出现之前,我就一直在用大模型做 AI Vibe Coding,也真切感受到了 AI 的强大 —— 其实大家都能明显感觉到,它早已渗透到我们工作和生活的方方面面。 有了小龙虾之后,我们可以自己训练出一款完全属于自己的个性化 AI 助手,不管是繁琐还是复杂的需求,都可以交给它,它会用自身能力帮你高效完成。 那么,该如何 “养” 出一只专属于你的 OpenClaw 小龙虾呢?
一、部署方案

系统要求:
Node 24(推荐)(出于兼容性考虑,仍支持 Node 22 LTS,目前为 22.16+;如果缺失,安装脚本 会安装 Node 24) macOS、Linux 或 Windows(windows11或window10新版本)
在 Windows 上,官方强烈建议你在 WSL2 下运行 OpenClaw。
用 WSL2 装 Ubuntu 最大的好处,运行 OpenClaw、Python、后端服务、命令行工具不会出现 Windows 下各种路径、权限、依赖兼容问题,部署一次成功,极少报错。性能接近原生 Linux,比虚拟机轻太多,和 Windows 无缝互通、交互强,不用来回切换系统。
接下来我们是在 Windows 上基于 WSL2 下运行 OpenClaw,此方案也使用与 macOS / Linux。
二、安装脚本

1. 以管理员身份打开 PowerShell
右键开始菜单 → Windows PowerShell (管理员)
2. 启用 WSL 与虚拟机功能
wsl --install执行后会自动,记录你添加的用户名+密码:
启用 WSL 启用虚拟机平台 安装默认 Ubuntu 发行版 提示重启电脑
如果你已经自行管理 Node,推荐使用 Node 24。出于兼容性考虑,OpenClaw 仍支持 Node 22 LTS,目前为 22.16+:
打开Ubuntu:

方式一:一键脚本(推荐)
curl -fsSL https://openclaw.ai/install.sh | bash
方式二:全局安装(手动)
安装 Node.js(推荐 Node 24)
curl-o-https://raw.githubusercontent.com/nvm-sh/nvm/v0.40.3/install.sh|bash source~/.bashrc nvminstall24 nvmuse24 node-v npm-v npm install -g openclaw@latestopenclaw onboard --install-daemon你是自己本地用、飞书机器人,选Yes

Setup mode,选择QuickStart

按选选择:Config handling

目前大部分的常用模型都是支持的,按需选择:智普是Z.AI

智普 Coding Plan 请选择 Coding-Plan-CN
在智普 Coding Plan 链接地址:https://www.bigmodel.cn/invite?icode=2VHObWGv8aw28HuLyqRfRgZ3c5owLmCCcMQXWcJRS8E%3D 添加 API Key ,并复制粘贴
这里可以选择glm-5-turbo模型,根据官方描述它是专门针对小龙虾的

渠道选择飞书

进行相关设置已经飞书的机器人部署:
创建飞书应用,获取应用凭证 App ID、App Secret;
飞书开发平台地址:https://open.feishu.cn/app?lang=zh-CN
创建飞书应用
访问飞书开放平台,单击创建企业自建应用,填写应用名称和描述,选择应用图标,单击创建。

左侧导航栏单击凭证与基础信息 页面,复制App ID(格式如 cli_xxx)和App Secret。

配置事件与消息通知
在左侧导航栏找到“事件与回调”,订阅方式选择“长连接”
选好之后,继续添加事件
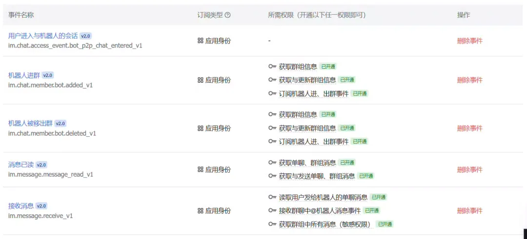
在添加事件搜索框输入 im.message.receive_v1(接收消息事件)并勾选,点击“确认添加”按钮进行添加

添加完接收消息事件,继续搜索添加 im.chat.access_event.bot_p2p_chat_entered_v1 用户进入与机器人的会话事件

在“事件与回调-回调配置”页面中
订阅方式选择“使用长连接接收回调”,点击保存;

添加应用能力

左侧导航栏单击 权限管理 页面,点击批量导入/导出权限 按钮,粘贴以下 JSON 配置,单击下一步,确认新增权限,单击申请开通。
{ "scopes": {"tenant": ["aily:file:read","aily:file:write","application:application.app_message_stats.overview:readonly","application:application:self_manage","application:bot.menu:write","cardkit:card:write","contact:contact.base:readonly","contact:user.employee_id:readonly","corehr:file:download","docs:document.content:read","event:ip_list","im:chat","im:chat.access_event.bot_p2p_chat:read","im:chat.members:bot_access","im:chat:readonly","im:message","im:message.group_at_msg:readonly","im:message.group_msg","im:message.p2p_msg:readonly","im:message:readonly","im:message:send_as_bot","im:resource","sheets:spreadsheet","wiki:wiki:readonly" ],"user": ["aily:file:read","aily:file:write","contact:contact.base:readonly","im:chat.access_event.bot_p2p_chat:read" ] } }每次更改都需要进行发布
控制台相关配置结果参考:


最后重启Gateway 网关服务,http://127.0.0.1:18789/#token=xxxxxxx

三、验证结果

Dashboard会话
接下来你就可以在浏览器打开Gateway Token也一样可以进入龙虾聊天界面: Dashboard: 输入带 token 的 Web UI 地址,如果没有带token,就需要单独输入Gateway Token也一样可以进入龙虾聊天界面:


飞书会话:

刚开始发现无法收到消息,原因在于私聊用户需要授权
执行openclaw pairing list feishu,查看待授权的配对码

执行授权,并重启网关服务
openclaw pairing approve feishu 2VUWM也可以通过更改配置,改为无需授权,打开你的配置文件 ~/.openclaw/openclaw.json,找到 channels.feishu 部分,改成这样:
{"channels": {"feishu": {"enabled": true,"appId": "你的飞书AppID","appSecret": "你的飞书AppSecret", // 👇 关键修改:开放私聊,免授权"dmPolicy": "open","allowFrom": ["*"],"groupPolicy": "allowlist","groupAllowFrom": ["oc_xxxx"] } }}openclaw.json 像模型、渠道配置都可以通过这个配置文件进行调整,调整后需要重启网关服务,方可生效。
好了,到这里你已经掌握了,在本地养殖一只属于你自己 OpenClaw 龙虾,可以让他帮你进行日常的办公、代码的编写、图文的创作、以及视频的创作等。
若你在搭建过程中遇到问题,欢迎在评论区留言交流。
夜雨聆风