【2026年南方台江苏专用教辅电子版物理培优word讲义微专题7功能关系能量守恒定律

一、 选择题
1. 蹦床是小朋友喜欢的一种体育活动.如图所示,蹦床的中心由弹性网面组成,若小朋友从最高点落下直至最低点的过程中,空气阻力大小恒定,则小朋友()

A. 机械能一直减少
B. 刚接触网面时,动能最大
C. 重力做功等于克服空气阻力做功
D. 重力势能的减小量等于弹性势能的增大量
【答案】 A
【解析】 小朋友从最高点落下直至最低点的过程中,蹦床弹力以及空气阻力一直做负功,因此,机械能一直减小,故A正确;小朋友刚接触蹦床时,加速度方向仍竖直向下,动能会继续增大,故B错误;根据功能关系,重力势能的减少量等于小朋友的动能、蹦床弹性势能的增加量以及克服空气阻力做功的代数和,故C、D错误.
2. 质最为m的物体在竖直向上的恒定拉力F的作用下,由静止开始向上运动高度H,所受空气阻力恒为f,重力加速度为g.此过程中,下列说法中正确的是()
A. 物体的动能增加了(F-mg)H
B. 物体的重力势能减少了mgH
C. 物体的机械能减少了fH
D. 物体的机械能增加了(F-f)H
【答案】 D
3. 人们根据竹蜻蜓原理设计了直升机的螺旋桨.如图所示,一小孩搓动质量为20 g的竹蜻蜓,松开后竹蜻蜓能上升到二层楼房顶的高度.在搓动过程中手对竹蜻蜓做的功可能是()

A. 0.2 J B. 0.6 J
C. 1.0 J D. 2.5 J
【答案】D
【解析】 竹蜻蜓在上升到最高点的过程中,动能转化为重力势能和内能,一般每层楼房的高度为3 m,二层也就是6 m,所以重力势能的增加量为Ep=mgh=1.2 J,则在搓动过程中手对竹蜻蜓做的功要大于 1.2 J,A、B、C错误,D正确.
4. (2024·连云港期末)如图所示,一轻质弹簧置于固定光滑斜面上,下端与固定在斜面底端的挡板连接,弹簧原长时上端位于A点,一物块从斜面上A点上方某位置释放,物块将弹簧压缩至最低点B后返回,弹簧形变始终在弹性限度内,则物块由A运动至B过程中( )

A. 物块的机械能守恒
B. 物块一直做减速运动
C. 弹簧弹性势能最大值等于物块动能的最大值
D. 弹簧弹性势能增加量等于物块机械能的减少量
【答案】 D
【解析】 物块由A运动至B过程中,弹簧的弹力对物块做负功,则物块的机械能不守恒,故A错误;开始时mgsin θ>F弹,则物块向下加速,当mgsin θ=F弹时加速度为零,速度最大;当mgsin θ<F弹时,物块做减速运动,故B错误;由能量关系可知,在平衡位置的动能最大,在该位置的动能最大值与重力势能以及弹性势能之和等于最低点的弹簧弹性势能最大值,可知弹簧弹性势能最大值大于物块动能的最大值,故C错误;由能量关系可知,因物块和弹簧系统的机械能守恒,则弹簧弹性势能增加量等于物块机械能的减少量,故D正确.
5. (2023·浙江卷)一位游客正在体验蹦极,绑上蹦极专用的橡皮绳后从跳台纵身而下.游客从跳台下落直到最低点过程中()
A. 弹性势能减小
B. 重力势能减小
C. 机械能保持不变
D. 绳一绷紧动能就开始减小
【答案】 B
【解析】 游客从跳台下落,开始阶段橡皮绳未拉直,只受重力作用做匀加速运动,下落到一定高度时橡皮绳开始绷紧,游客受重力和向上的弹力作用,弹力从零逐渐增大,游客所受合力先向下减小,后向上增大,速度先增大,后减小,到最低点时速度减小到零,弹力达到最大值.橡皮绳绷紧后弹性势能一直增大,A错误;游客高度一直降低,重力一直做正功,重力势能一直减小,B正确;下落阶段橡皮绳对游客做负功,游客机械能减少,转化为弹性势能,C错误;绳刚绷紧开始一段时间内,弹力小于重力,合力向下,做正功,游客动能增加;当弹力大于重力后,合力向上,对游客做负功,游客动能逐渐减小,D错误.
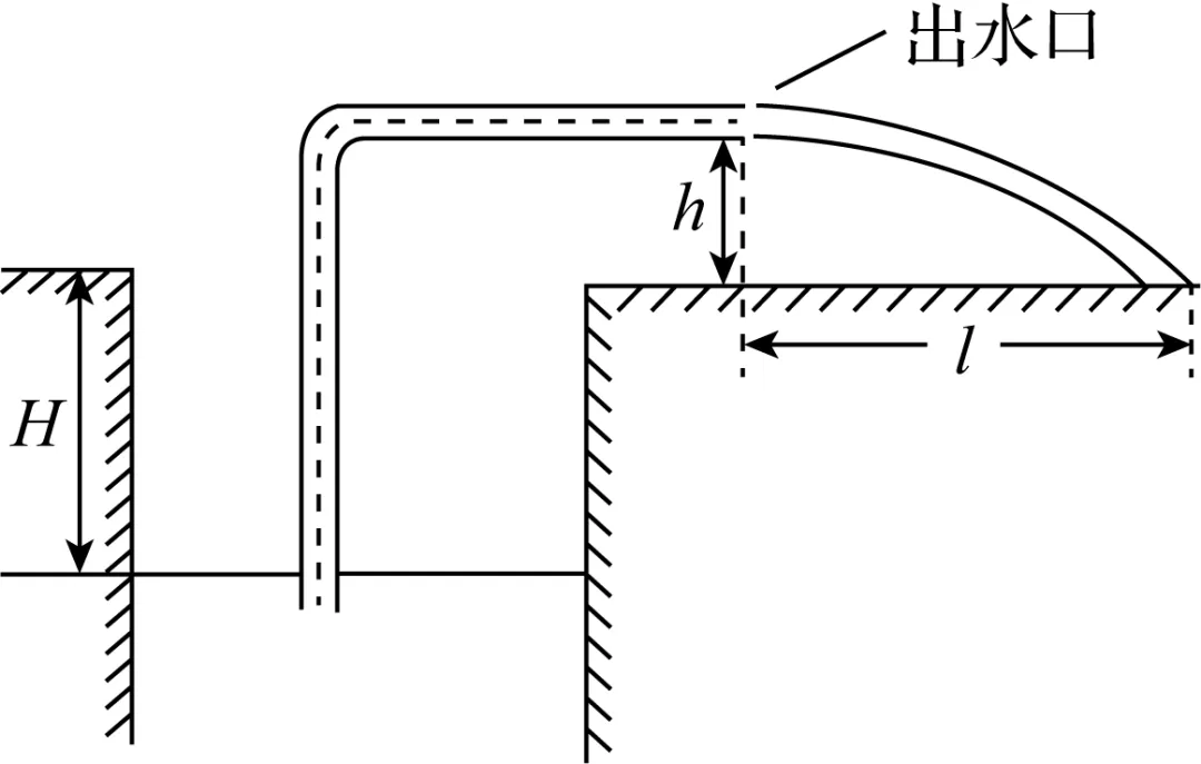
6. (2024·安徽卷)在某地区的干旱季节,人们常用水泵从深水井中抽水灌溉农田,简化模型如图所示.水井中的水面距离水平地面的高度为H.出水口距水平地面的高度为h,与落地点的水平距离约为l.假设抽水过程中H保持不变,水泵输出能量的η倍转化为水被抽到出水口处增加的机械能.已知水的密度为ρ,水管内径的横截面积为S,重力加速度大小为g,不计空气阻力.则水泵的输出功率约为( )

A. 2gh)2ηh\a\vs4\al\co1(H+h+\f(l22h))
B. 2gh)2ηh\a\vs4\al\co1(H+h+\f(l24h))
C. 2)gh2ηh\a\vs4\al\co1(H+\f(l22h))
D. 2gh)2ηh\a\vs4\al\co1(H+\f(l24h))
【答案】 B
【解析】 设水从出水口射出的初速度为v0,取t时间内的水为研究对象,该部分水的质量为m=v0tSρ,根据平抛运动规律v0t′=l,h=12gt′2 ,解得v0=lg2h),根据功能关系得Ptη=12mv20+mg(H+h),联立解得P=2gh)2ηh\a\vs4\al\co1(H+h+\f(l24h)),故B正确.
7. (2024·淮安期末)小球由静止从某高处竖直下落,若所受阻力恒定,用x表示下落的高度,t表示下落的时间,Ek表示动能,Ep表示势能,E表示机械能.下列图像可能正确的是( )


ABCD
【答案】 B
【解析】 根据能量守恒,重力势能转换为动能加阻力损耗,则Ek=mgx-fx,则Ek与x成正比,故A错误;机械能E=E0-fx,可知机械能E与x成线性关系,故B正确;动能为Ek=12mv2,v=at,解得Ek=12ma2t2,可知Ek与t成抛物线关系,故D错误;重力势能Ep=mgh-12ma2t2-fx,其中x=12at2,可得Ep=mgh-12(ma2+fa)t2,可得Ep与t为抛物线关系,图像开口向下,故C错误.
8. (2025·如皋期初)如图所示,水平桌面上的轻质弹簧一端固定,另一端与小物块相连.弹簧处于自然长度时物块位于O点(图中未标出).物块的质量为m,AB=a,物块与桌面间的动摩擦因数为μ.现用水平向右的力将物块从O点拉至A点,拉力做的功为W.撤去拉力后物块由静止向左运动,经O点到达B点时速度为零.重力加速度为g. 在上述过程中( )
通过网盘分享的文件:南方凤凰台·2026全国一轮电子稿等7个文件
链接: https://pan.baidu.com/s/1Q8yIZ6J_EF4Bq61Fj8yz8w?pwd=4321 提取码: 4321
–来自百度网盘超级会员v8的分享
夜雨聆风