关于业委会进度和投票系统的重要说明
大家好!我们是广州市番禺区洛浦街如意吉祥小区物业管理委员会,目前正在推进小区首次业主大会、筹备成立业主委员会。今天,我们和大家同步最新进展。
一、✅ 终于解决!业主投票系统数据更新完成。
2025年11月,我们就正式向番禺区住建局发函,要求申请更新电子投票系统里的业主信息,解决近年来购房的新业主们无法绑定、无法投票的问题。经过多轮沟通,系统数据终于在2026年3月10日完成更新,住建局向我们提供了最新的业主清册。
二、💪 继续行动,逐条核对!
住建局提供的系统原始数据共4178条,但存在大量无效、错误信息,主要原因是行政区划变更、地址格式混乱、混淆了如意吉祥园和吉祥北园2个小区的数据等等,严重影响业主委员会筹备进度。
|
|
|
![]() |
![]() |
经我们逐条核对、筛选数据后:
-
住建局提供的原始数据: -
车位19个+商铺715个+住户3444个=4178个 -
核对后系统目前有效的数据:
-
车位00个+商铺409个+住户2492个=2901个
-
小区实际有效业主总数: -
车位00个+商铺409个+住户2551个=2960个 -
总结:系统多出1277个数据,缺失59个数据,具体详情还需等待住建局二次核对修正。 -
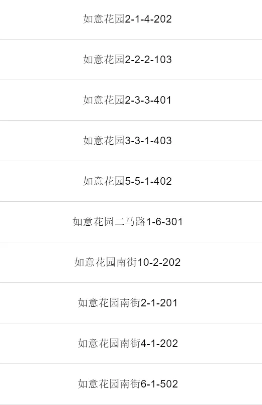
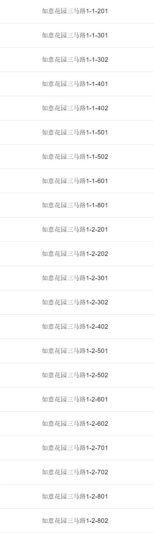
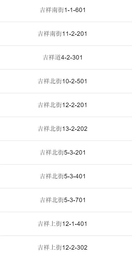
缺失名单如下图所示,主要是如意三马路的部分业主,这些业主目前仍然无法绑定系统。我们已将完整的核对结果和补全需求反馈给住建局,正在等待处理。
![]() |
![]() |
![]() |
![]() |
三、⚠️ 重要提醒:绑定业主身份,才能更方便行使您的投票权!
后续业主委员会、小区重大事项表决,都将通过广州市官方电子投票系统进行。只有完成身份绑定的业主,才能在线进行投票!
🔐 绑定指南(1分钟搞定)
-
谁能绑:房产证上登记的业主本人。 -
怎么绑:人脸识别核验,无需提交任何证件。 -
安全吗:政府官方系统,隐私全程加密保护。 -
绑定步骤:可在微信搜索关注《广州物业管理》公众号,或从下面方式直接进入。
|
|
|
![]() |
https://wy.gzcc.gov.cn/weixin/public/ownerBinding.jsp |
接下来,我们会继续跟进系统数据的修正,待完整准确的业主清册完成后,将第一时间在小区线下公示,并及时同步告知大家业主委员会筹备的最新进度。也请大家尽快完成业主身份绑定:投票既是您作为业主的权利,也是参与小区治理的重要义务,请务必重视,别让自己的声音缺席!
感谢大家的理解与支持!
如意吉祥小区物业管理委员会
梁东、邓凯泽、许志耘、张杰、谢亿明
2026 年 4 月
夜雨聆风






