当前位置:首页>文档>6.2认识直角_26春北师大版数学二下_19、赠送其它资料_旧教材资源_七彩课堂北师大版数学二年级下册教案+学案_第六单元认识图形(教案+学案)_学案

6.2认识直角_26春北师大版数学二下_19、赠送其它资料_旧教材资源_七彩课堂北师大版数学二年级下册教案+学案_第六单元认识图形(教案+学案)_学案

  • 2026-04-01 20:15:44 2026-04-01 19:27:14

文档预览

6.2认识直角_26春北师大版数学二下_19、赠送其它资料_旧教材资源_七彩课堂北师大版数学二年级下册教案+学案_第六单元认识图形(教案+学案)_学案
6.2认识直角_26春北师大版数学二下_19、赠送其它资料_旧教材资源_七彩课堂北师大版数学二年级下册教案+学案_第六单元认识图形(教案+学案)_学案

文档信息

文档格式
docx
文档大小
0.053 MB
文档页数
1 页
上传时间
2026-04-01 19:27:14

文档内容

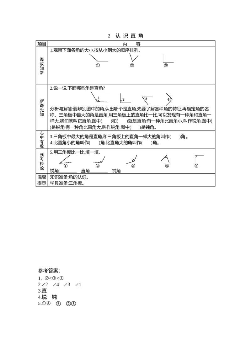
2 认 识 直 角 项目 内 容 1.观察下面各角的大小,按从小到大的顺序排列。 2.说一说,下面哪些角是直角? 分析与解答:要辨别图中的角,认出哪个是直角,先要了解各种角的特征,再确定角的名 称。三角板中最大的角是直角,用三角板上的直角比一比,可以发现有一种角和直角一 样大,我们就叫它直角,图中( )和( )就是直角;有一种角比直角小,叫作锐角,图中( )是锐角;有一种角比直角大,叫作钝角,图中( )是钝角。 3.三角板中最大的角是直角,和三角板上的直角一样大的角叫作( )角。 4.比直角小的角叫作( )角,比直角大的角叫作( )角。 5.用三角板比一比,填一填。 锐角 直角 钝角 温馨 知识准备:角的认识。 提示 学具准备:三角板。 参考答案: 1. ②<③<① 2.∠2 ∠4 ∠3 ∠1 3.直 4.锐 钝 5.①④ ⑤ ②③